Loading...
Skip

Albion Co

Resourcefulness, Reliability, Respect

Skip to content
Menu
  • FIELDS
  • ABOUT
  • PRODUCTS
    • SEPAR
      • List of Separators and Elements
      • Installation Instructions
    • GLACIER
      • List of centrifuges
      • How centrifuge action works
        • The Centrifuge
        • Contamination and Wear
    • Conditioning systems
  • PARTS
  • BRANDS
  • LITERATURE
  • CONTACT US
Home
Search

Tag: cleanable

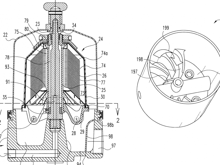
  • Glacier

GLACIER

  • by aljopa4
  • Posted on December 17, 2015August 13, 2017

ΓΛΩΣΣΑ / LANGUAGE

Post List

  • FIELDS

    December 21, 2015
  • Installation Instructions

    December 21, 2015
  • GLACIER

    December 17, 2015
  • The Centrifuge

    January 20, 2016
Press Enter To Begin Your Search
×

Loading Comments...